Jump to content

stoner14

Members
  • Posts

    3
  • Joined

  • Last visited

Profile Information

  • Interests
    I have my own alteration shop

LW Info

  • How did you find leatherworker.net?
    on the web

stoner14's Achievements

New Member

New Member (1/4)

  1. thanks shopatcher, Do you mean the front oil drip pan that goes underneath(I do have the main long pan, but not the smaller oil drip pan that theb sponge goes in in the front). I am located in Canada at postal code A0A 3W0. I also need a few other parts, any chance you have some used parts for this machine as new ones seem to be through the roof Thanks
  2. Thanks to all who replied. The manual I am using is the one mentioned in the responses above (someone asked for it). After reading what was posted and looking at the manual, I am pretty confident in saying this is how it is on the 1508 as well. I will get a sponge and make a pan and put it in place. Nor worried about the oil bottle, I will keep an eye on it and get something if there is that much drip or run off in the base pan. Thanks to all who provided info and responded Sharon
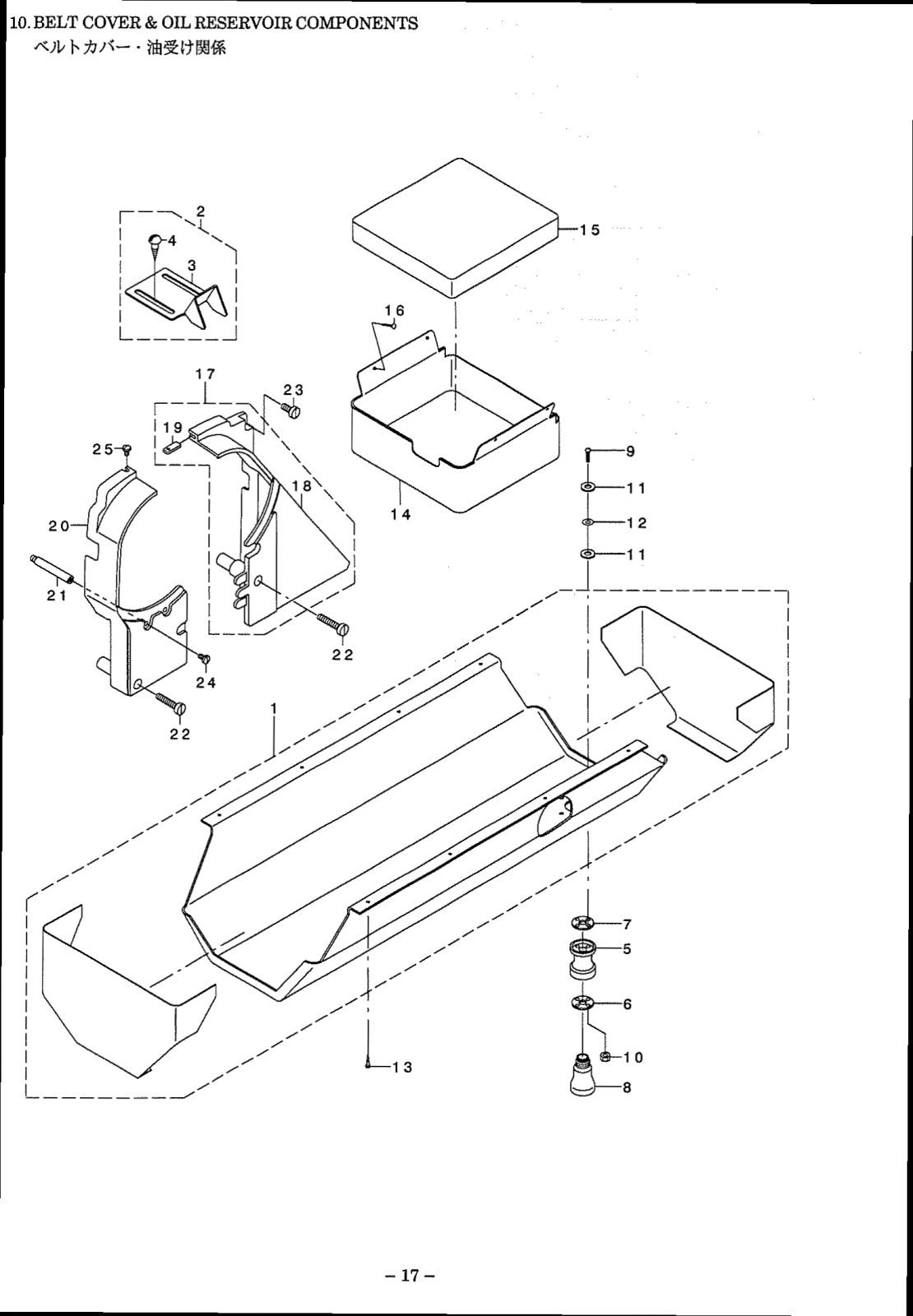
  3. Hi folks, new to the form and have a few questions I hope someone can help me with. I have been sewing for years and have my own shop with several industrial machines. Recently I picked up a Juki LU-1508 walking foot at an auction. It is in need of repair and a few replacement parts. My husband who is quite handy has it up and running, but he does have a few quetions/concerns. One is on the oiling/lubrication set-up. As the model I have is the LU-1508 ( I am assuming it is the base model as it does not have any letter following the number, it is not an N or the H or the NH etc, just the 1508) it does not have the automatic oil setup. In the manual my husband down loaded it shows lubrication on page 25 in figure 46 and explains it on page 47. I have included the 2 pages here. Does anyone know where this Oil reservior they are talking about, is it under the top cover and towards the front as that is the only oil felt that I can see (it is round) ??. Also in the 3rd and 4th pictures I included (one is a diagram and one is the detailed list) it shows a oiling setup in the base pan. My base pan has some of the oiling parts, but some were broken when it was dropped in the crate. How does this work, From what I see in the parts diagram, I am assuming an oil bottle was attached to the bottom of the pan and a wick from the bottom of the sewing head (I do see a wick sticking down in that area) was dipped into the oil bottle it wicked up the oil into the head, can someone confirm this or tell me how it worked, or does anyone have a picture of it. I thank anyone who can provide info/insight. I can't wait to get this beast up and running Happy Sewing from Canada Sharon Sew Bee It
×
×
  • Create New...